融科建筑工程

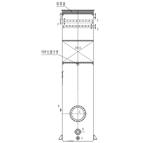
脱气塔

产品介绍:

脱气塔能有效去除二氧化碳等有害气体,提高水体溶解氧;处理水量大,无污染,操作维护简单.投资成本低,运行费用低以及设备安装方便.脱气塔可根据水质条件、动物特性专门为海洋馆和水族馆维生系统、水产养殖系统设计.
分享:

产品详情

产品推荐